交流电机是一种依据电磁感应定律,将交流电能转换为机械能的装置 ,在现代工业、交通运输、家用电器等众多领域广泛应用。西安西玛电机有限公司生产的交流电机主要分为异步电机(感应电机)和同步电机。

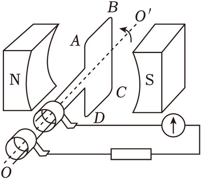
图为交流电机的工作原理示意图
西安西玛异步电机工作原理
定子产生旋转磁场
当三相交流电流通入异步电机的定子绕组时,由于三相电流在时间上彼此相差 120° 电角度,且三相定子绕组在空间上也彼此相差 120° 电角度分布。
根据安培定律和电磁感应定律,三相电流会在定子铁芯中产生一个合成的旋转磁场。这个磁场的转速(同步转速n1)由电源频率f和电机的磁极对数p决定,计算公式为n1=60f/p 。例如,我国电网频率f=50HZ,若电机磁极对数p=1,则同步转速n1=3000r/min;若p=2,则n1=1500r/min 。
转子导体切割磁感线产生感应电动势和电流
旋转磁场以同步转速旋转时,转子导体与旋转磁场之间存在相对运动,相当于转子导体切割了磁感线。
根据电磁感应定律,转子导体中就会产生感应电动势。由于西玛电机转子绕组是闭合的,在感应电动势的作用下,转子导体中就会产生感应电流。
转子载流导体在磁场中受力产生电磁转矩
转子导体中有了感应电流后,根据安培力定律,载流导体在磁场中会受到力的作用。
这个力在转子上形成电磁转矩,驱使转子沿着旋转磁场的方向旋转。然而,异步电机的转子转n速始终小于同步转速n1,因为如果转子转速等于同步转速,转子导体与旋转磁场之间就不存在相对运动,也就不会产生感应电动势和电流,电磁转矩也就为零,所以称为 “异步” 电机 。转子转速与同步转速之间的差值称为转差s,转差与同步转速的比值称为转差率,即s=(n1-n)/n1 。
西安西玛同步电机工作原理
定子产生旋转磁场
与异步电机类似,同步电机的定子绕组通入三相交流电后,也会在定子铁芯中产生一个旋转磁场,其同步转速n1=60f/p。
转子励磁产生恒定磁场
同步电机的转子上装有励磁绕组,通过直流励磁电流,使转子产生一个恒定的磁场(有 N 极和 S 极)。
转子与旋转磁场相互作用保持同步旋转
定子旋转磁场的磁极与转子励磁磁场的磁极之间存在相互吸引力,就像两块磁铁相互吸引一样。
定子旋转磁场以同步转速旋转时,会带动转子以相同的转速同步旋转,即转子转速n等于同步转速n1,这就是 “同步” 电机名称的由来。在运行过程中,只要电源频率f和电机磁极对数p不变,同步电机的转速就保持恒定。
西安西玛交流电机依据电磁感应定律,将交流电能转换为机械能, 因结构简单、运行可靠、成本低、效率高等优点,在工业、交通运输、家用电器、航空航天等领域广泛应用。
了解更多关于电机的知识,请关注西安利特西玛电机有限公司网站。公司专业技术团队为您免费提供电机的选型、安装、调试、保养等技术指导服务,尽量避免企业因为电机技术人员的短缺带来的损失,采取“线上+线下”服务的服务形式,帮助企业解决技术难题。
以上内容由西安西玛电机(西安利特西玛电机有限公司)网络编辑部收集整理发布,仅为传播更多电机行业相关资讯及电机相关知识,仅供网友、用户、及广大经销商参考之用,不代表西安利特西玛电机同意或默认以上内容的正确性和有效性。读者根据本文内容所进行的任何商业行为,西安利特西玛电机不承担任何连带责任。如果以上内容不实或侵犯了您的知识产权,请及时与我们联系,西安利特西玛电机网络部将及时予以修正或删除相关信息。
2025-02-27
2025-05-09
2024-11-04
2024-09-22 陕西省西安市新城区长缨西路1号华东万和城1号楼15楼

Copyright © 西安利特西玛电机有限公司 版权所有
陕ICP备2024034653号-1